Рейки Анток

Дорожные рейки Анток - надежный и простой в работе инструмент для измерения различных параметров дорог и оценки их состояния. Чаще всего таким оборудованием пользуются инженеры, сотрудники дорожных лабораторий и полиции, а также специалисты сферы экспертизы.
Модельная линейка
В ассортименте производителя представлены неразрезные и складные дорожные рейки, специалисты чаще всего выбирают последние. Поскольку все эти работы проводятся на выезде, инструменты должны быть мобильными. В собранном состоянии складные модели легко помещаются в багажник автомобиля. При этом подготовить их к работе можно достаточно быстро - нужно только снять прижимные планки и закрутить стяжные болты.
Единственное отличие обычных реек РДУ Анток и модификаций с индексом Э заключается в методе определения уклонов проезжей части и обочин дорог. В первом случае для этого служит измерительная головка с лимбом, во втором - съемный электронный уровень, который устанавливается на специальные крепления. В работе электронная версия показывает себя чуть эффективнее за счет того, что параметр уклона определяется сразу. При этом аналоговое исполнение инструмента более надежно.
Особенности конструкции
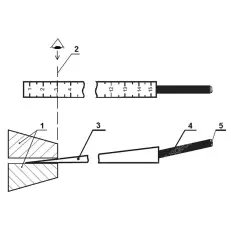
На корпус нанесена измерительная шкала, которая используется для измерения линейных параметров дорог. На дорожных рейках Анток в нескольких местах расположены контрольные метки, указывающие места измерений просветов под инструментом. Таким способом можно определить глубину ямы, выбоины или колеи. Для этого используется клиновой промерник, который удобно крепится внутри рейки. Кроме того, промерник нужен для замеров толщины слоев дорожной одежды.
Балансир-эклиметр, установленный в полости инструмента, необходим для измерения крутизны откосов и насыпей. Результаты считываются в смотровом окошке на верхней поверхности изделия.
Купить рейки РДУ Анток в Уфе, а также получить консультацию специалистов вы можете в нашем магазине, по телефону или непосредственно на сайте с помощью формы обратной связи или онлайн-консультанта.